back to SWR analyzer
MFJ-249B
MFJ-249B:

MFJ-249 Manual.pdf

MFJ-249 schematic.pdf

MFJ-249 SWR Analyzer.pdf
MFJ-249D 2.jpg

|

|

|

|
|
|
| MFJ-249 calibration |
mfj259 input |
mfj259 |
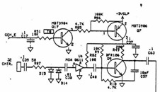
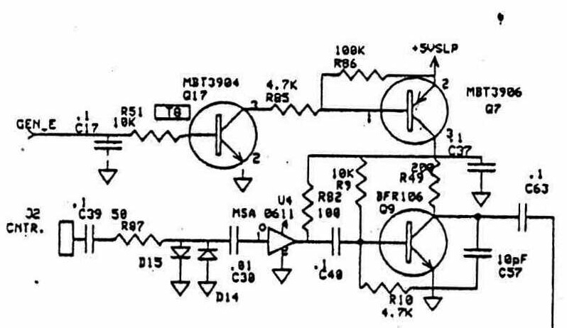
mfj259b-sch |
|
|
highest resolution images
last updated 02/17/2026 at 10:52:31 by make_www_index.command version 2026.02.05.A