back to Explorer solar and battery grid
rev1 dashcam on supercaps
rev1 dashcam on supercaps:
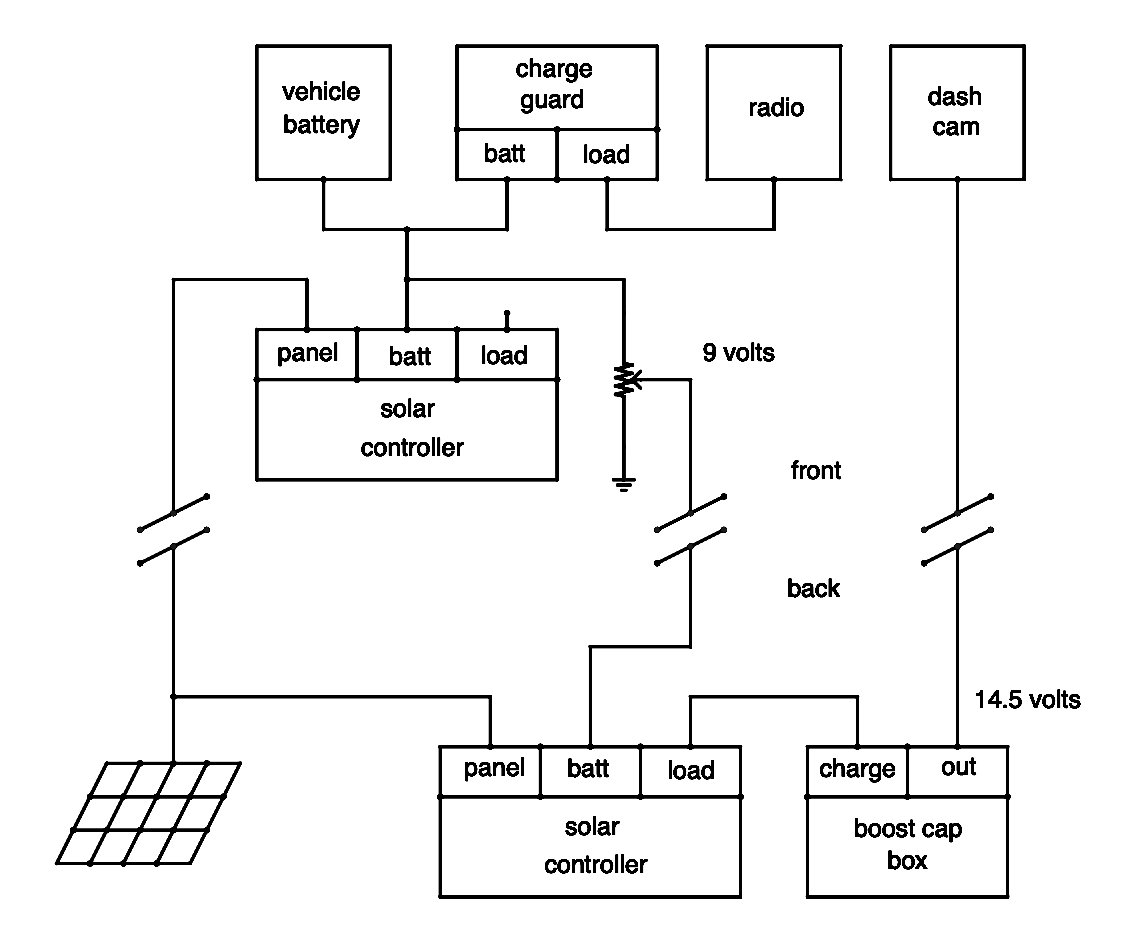
I wanted to run the dashcam in "parking mode" so it would loop-record 24/7. (and lock any impacts) To do this
I put my jump cap box in the truck and installed a second solar controller. The controller needed to sense
battery voltage so I fed it with a 9v regulator from the truck battery, and connected the jump cap box as a
load.
It wasn't possible to connect the jump cap box to the battery port because it has an internal boost regulator
to pump the supercaps up to 14.5v and thus presents no voltage on the charge port.
This didn't work well, the jump caps didn't have enough capacity to last several days with poor solar.
solar dashcam no batt:

highest resolution images
last updated 12/11/2025 at 10:03:14 by make_www_index.command version 2025.11.05.A